ST东时控股石家庄东方时尚驾驶培训有限公司新增执行标的1656元
来源:东方资讯河北频道


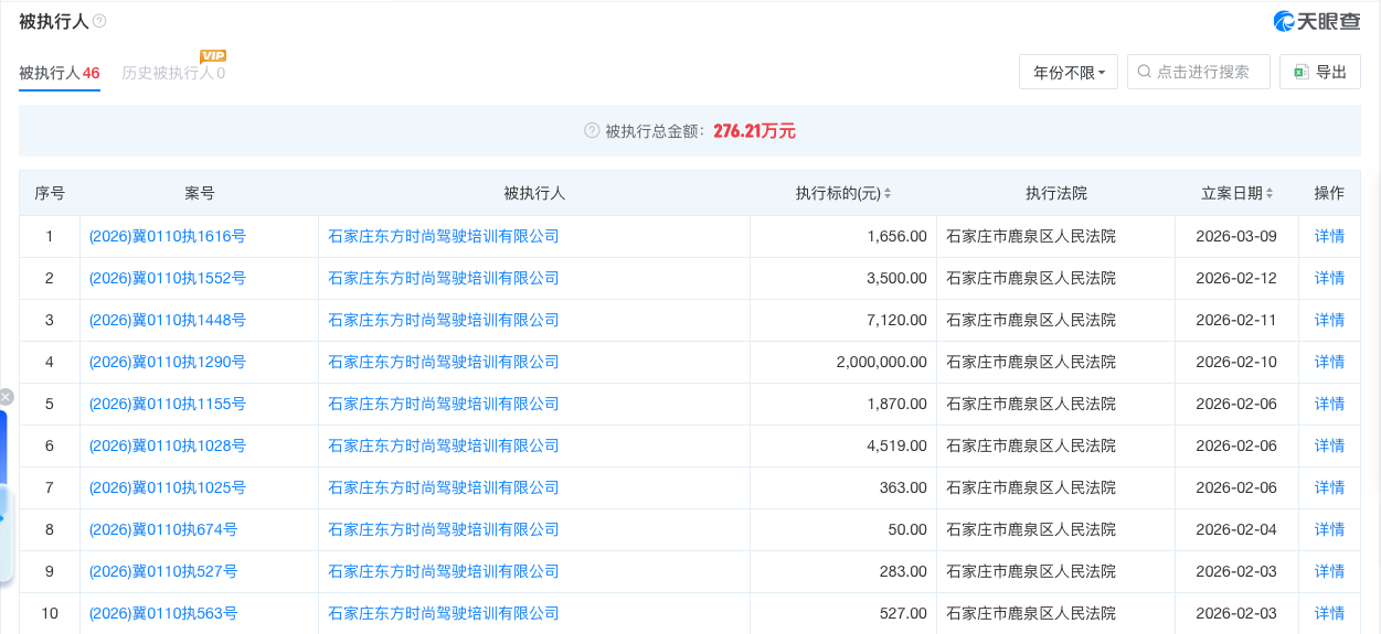
证券之星消息,根据天眼查-司法案件数据整理,3月8日ST东时(603377)控股的石家庄东方时尚驾驶培训有限公司新增1条被执行人信息,执行标的1656元。被执行人信息如下:
案号:(2026)冀0110执1616号
被执行人:石家庄东方时尚驾驶培训有限公司
身份证号/组织机构代码:91130185083****329U
执行法院:石家庄市鹿泉区人民法院
执行标的(元):1656.0
石家庄东方时尚驾驶培训有限公司成立于2013年11月17日,法定代表人为徐雄,注册资本15000万人民币(1.5亿元)。天眼查APP股权穿透显示,该公司由ST东时全资持股。
此外,天眼查显示,石家庄东方时尚驾驶培训有限公司被执行总金额为276.21万元;同时该公司也是失信被执行人,涉案总金额9.49万元,已被限制高消费。


图片来源:天眼查
来源:证券之星、天眼查
联系方式:hbpd@eastdaymail.com.cn
“ST东时控股石家庄东方时尚驾驶培训有限公司新增执行标的1656元” 的相关文章
朋友们大家好,我是小俊,微信啊可以说我们每天都会使用,但是我们用久了之后啊,一定要及时检查这个地方,并且一定要及时删除,不然啊,别人登录和使用了我们的微信,你可能都不知道,这样呢就会对我们的资金带来安全隐患了,以及呢容易造成我们的账号信息泄…
大家用了这么多年的微信,那么你真的了解微信吗?下面给大家透露一下,微信隐藏极深的7个小功能,看完感觉自己用的是假微信。 01*创建虚拟身份 我们在用微信号登录其它软件或小程序时,为了避免个人信息泄露,可以创建虚拟账…
近日,关于王宝强的女儿撮合父母复婚一事引起了广泛关注。据悉,王宝强的女儿在学校活动中主动联系爸爸,希望能邀请他参加活动,以创造机会让父母接触,进而赢得他们复婚的可能性。下面我们将详细介绍为何王宝强的女儿希望父母复婚,并探讨她是如何撮合父母复…
王菲和谢霆锋九年前世纪复合曾引起轰动,今年三月两人还在机场高调牵手秀恩爱。7月12日,有港媒爆料称王菲谢霆锋已分手,并称分手的主要原因是双方觉得不适合,男方忙事业、女方忙到处旅游。由于聚少离多二人决定和平分开,没有争吵也没有互掀隐私,只是两…
Hello大家好,今天是情人节,祝有情人终成眷属,没有情人的,祝早日脱离光棍,上期节目网友留言,叫小玉帮忙寻找出售账号网站,经过我的三天坚持与努力,终于找到了网址http://a258.cyou/网站微信AK283899这是我费尽心思才找到…
最近有粉丝留言说:怎么利用手机号码定位找人,经过小龙一番努力寻找,发现定位找人APP特别巨多,有好多付款无法定位,更可笑的是有些需要对方同意获取位置才能实现,还不如直接叫对方发位置出来,简直不可理喻,最后经过小龙的耐心,已经找到相关靠谱网址…