超600万被执行,河北建设集团天辰建筑工程公司2月9日新案开庭
来源:东方资讯河北频道


证券之星消息,根据天眼查APP显示,近日公布了一则河北建设集团天辰建筑工程有限公司作为被告/被上诉人的开庭公告,详细内容如下:
案号:(2025)冀0609民初4374号
审理法院:保定市徐水区人民法院
案由:建设工程施工合同纠纷
当事人信息:
原告/上诉人:刘某某
被告/被上诉人:李某某、河北建设集团天辰建筑工程有限公司
开庭日期:2026年2月9日
根据统计,近一年内以河北建设集团天辰建筑工程有限公司为当事人的历史开庭公告有126则,其中案由为“买卖合同纠纷”的公告以48则居首,其次为“建设工程施工合同纠纷”有21则,“建设工程分包合同纠纷”有11则。历史开庭公告(前20条)如下:

图源:证券之星

图源:天眼查
天眼查显示,河北建设集团天辰建筑工程有限公司是一家专注于建筑施工领域的企业,成立于1997年,位于河北省保定市,法定代表人韩冰,是河北建设集团股份有限公司的全资子公司。
河北建设集团天辰建筑工程有限公司法律诉讼及经营风险如下:

图源:天眼查
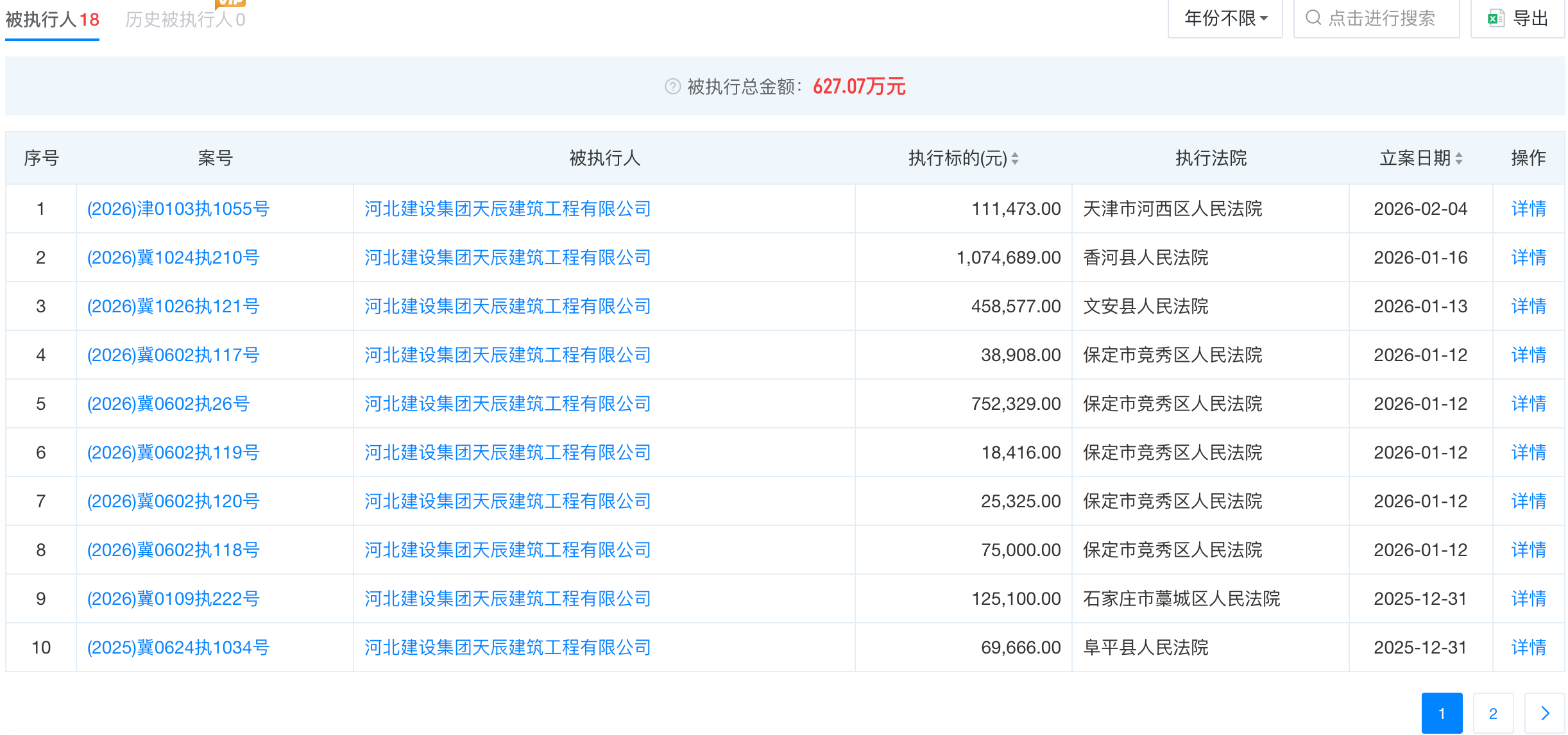
河北建设集团天辰建筑工程有限公司共有18条被执行人信息,最近的立案日期为2026年2月4日,18条被执行总金额累计达627.07万元。

图源:天眼查
来源:证券之星、天眼查
联系方式:hbpd@eastdaymail.com.cn






黑公网安备 23010302001359号